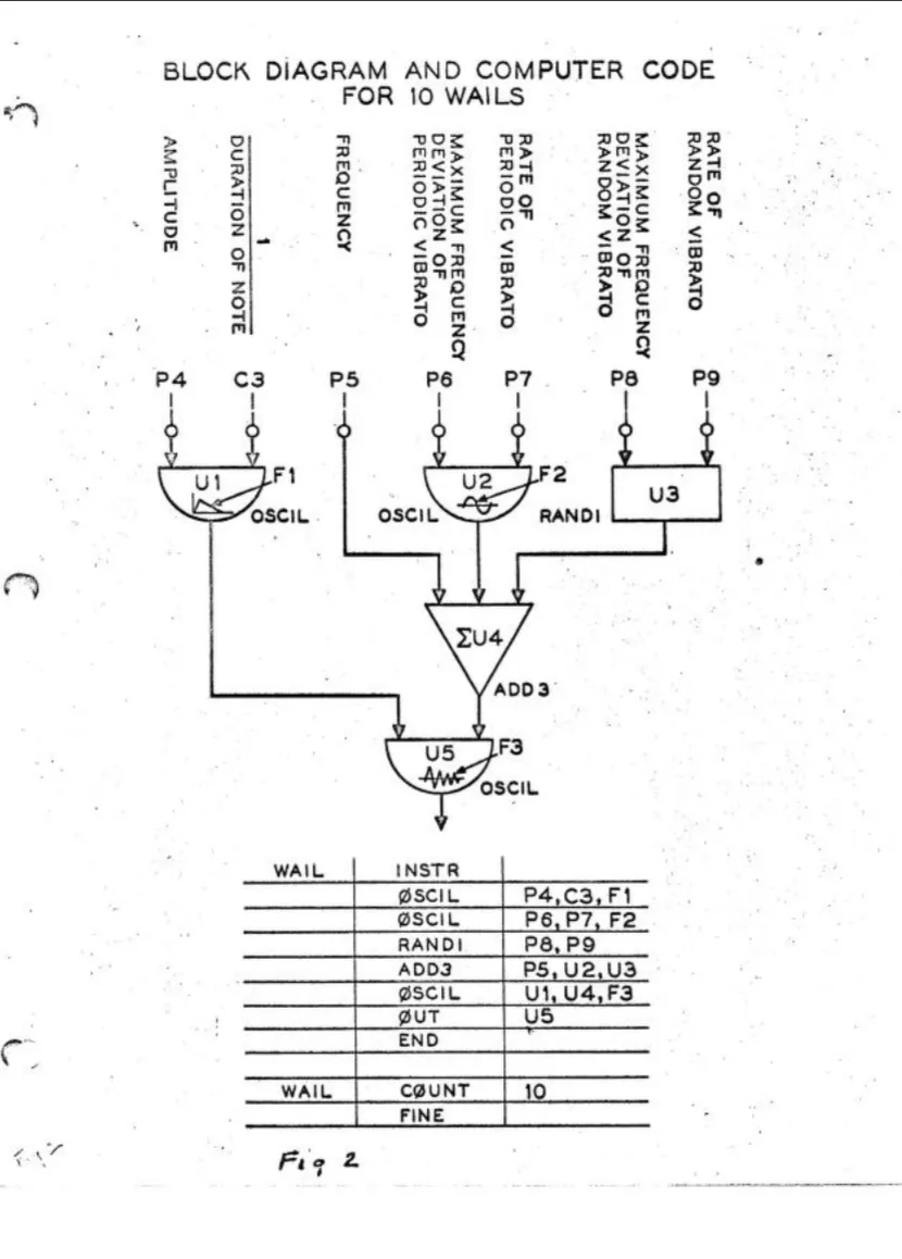
basically this idea that audio synthesis could be done with the help of small ‘units’.
in max, you can have a unit that just produces random numbers, that can then control a certain aspect of another parameter.


from https://archive.org/details/music-iv-programmers-manual/page/n5/mode/2up